寧波華路德交通設備科技有限公司
地址:浙江省寧波市慈溪龍山工業區龍鎮大道158號
電話:0574-63973388 58583358
手機:13906742920 13906741255
E-mail:huadejt@126.com
網站:www.cqjywh.cn
紅、綠兩色,同屏顯示
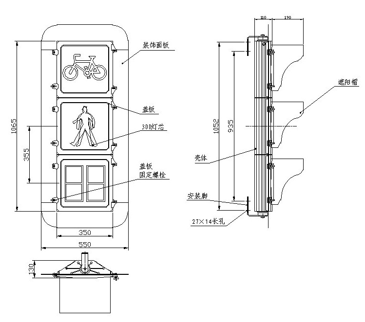
規格:Φ300
殼體材料:鋁壓鑄、塑料、鋁型材
安裝方式:豎裝



人行非機動車信號燈是我公司采用國外最先進的LED發光器件研制開發的全新概念交通信號燈,綠燈時具有動感圖像特征。燈芯視角好,亮度均勻、色譜標準、功耗低、壽命長、衰減少、可靠性高、穩定性強、耐溫性好、電壓運應范圍廣。燈體采用優質鋁錠溶化后一次性壓鑄而成。專為LED燈設計,燈蓋開啟V型設計,不用任何工具、用手擰即可。雙重密封,外觀超薄設計、重量輕。色片采用PC注塑成形、美觀大方等特點。在烈日及濃霧條件下,更顯其卓越的優點。是當今交通信號燈的潮流產品,各項指標均達到或超過GB14887-2011標準。
人行非機動車信號燈外殼采用我公司獨立研制和生產的一次成型超薄V型鋁壓鑄燈殼,該燈殼具有如下特點:
1、采用專用鋁壓鑄模具一次成型,重量輕,強度高,在高低溫條件下變形小,抗腐蝕性強,克服了塑料燈殼在長時間使用條件下容易發生老化開裂的缺陷。
2、該燈殼專門為人行橫道燈設計,體積小,外形美觀大方,在生產過程中經過壓鑄、篩選、修邊、整形、噴涂等多道工序,成品表面光潔,決無開裂、毛刺、銀絲等缺陷。
3、燈殼顏色采用黑色,色澤鮮明,長時間使用無褪色。
4、外觀形狀,采用方形外殼,方形遮陽燈罩,玻璃鋼透光色片亮度均勻,視覺寬,透光性強。
5、密封性,為了最大限度地提高燈殼的防塵和防水性能,采用兩重密封技術,首先在燈蓋和燈殼接縫處專門設計有防水密封圈,同時在信號燈內部采用專門的密封托盤,將LED發光燈片和電源密封與透光罩和托盤之間,最大限度地保證了室外各種天氣情況下的密封效果。
6、安裝,該信號燈殼在設計時充分考慮到各種安裝形式,并配有多種安裝支架,并在信號燈兩端設計有萬向齒盤,方便調整安裝角度;燈蓋采用V型開啟形式,并專門配置手擰固定螺絲,在安裝和維修時不需借助任何工具即可開啟燈蓋。
7、信號燈需要在室外長期使用,除了保證燈殼主體的耐用性外,我公司一律采用不銹鋼螺絲固定各個信號燈組件。
三、燈殼材料
1、信號燈外殼采用鋁錠經融化后一次壓鑄成型,重量輕、強度好,長時間室外使用不易變形和老化。
2、信號燈遮陽罩和裝飾條采用超薄金屬,強度高,柔韌性好。
3、色片采用工程塑料經注塑成型,透光性好,不易上灰塵,破碎對人無傷害。
四、主要技術條件
1、光學性能、發光強度不低于400cd
2、色度:紅色(629nm) 綠色(505nm)
3、工作電壓:AC220+20%-10%
4、額定功率:≤15W(300)、≤20W(400)
5、工作溫度:-40℃~+80℃
6、使用壽命:>50000h